超声传感技术利用超声波的飞行时间(TOF)与管段内介质流速相关,求得超声波顺流和逆流方向传播的时间差,最终来测量和计算流量。此技术在测量宽流速变化范围时非常出色,同时能够处理水和油等液体及空气与甲烷等气体。

基于TOF的超声波测量方式是根据上游和下游方向超声信号传播时间的差异来测量流速。超声波在介质流动方向上的传播速度较快,而在逆流动方向时传播速度较慢。无论换能器放置在管道内还是夹在管道外,此项技术均可正常应用。此测量方式要求在两个换能器之间具有直接通路,这就需要仔细选择安装换能器的管道机械构造。如果液体中有气泡出现,此项技术就失去了作用,因为它会对超声波信号造成重大衰减。
由于超声波信号在单一介质与在多种混合介质中的传播速度不同,因此基于TOF的超声技术还可用于分析介质成分。
超声波流量计配置
基于TOF的超声波流量计具有两种构造:插入式和外夹式。插入式流量计属于侵入式,其中传感器安装在管道内并与液体发生接触;外夹式流量计属于非侵入式,其传感器安装在管外表面上,可穿透管壁进行声波测量。

插入式呈对角线安装的换能器布局
插入式流量计可以呈对角线安装,让传感器直接相对,如上图所示。或者,超声波也可以通过管道表面反射从发射传感器到达接收传感器,如下图所示。在大口径流量计应用中,通常采用两对换能器,以提升性能,解决下下图所示大口径信号衰减较大的问题。

插入式相互反射的换能器布局

几种插入式布局的换能器配置
下图展示了一种外夹式传感器的配置,由于超声波需要穿透管道材料,因此会发生更大幅度的信号衰减。

外夹式传感器部署
超声波流量计面临的一大主要挑战是需要在每小时几升到上万升的大流速范围内保持精度。在一些应用中,另一个挑战是在0°C到85°C的温度范围内保证流速精度。由于流体中超声波的速度随流体的温度变化而变化,因此在流体温度发生变化时,传播时间的差异会给流速测量带来误差。一般来说,如果不考虑温度,则会产生超过5%的流速计算误差。为了提高精度,系统将需要安装一个温度传感器。
不过,我们设计一种不需要测量温度的检测方法。这种方法需要使用上行和下行传播的绝对时间或TOF和时间差来计算该介质的流速。
基于模数转换器(ADC)的处理优势
我们可以使用多种不同的方法来获取上行和下行的飞行时间TOF。一种方法是利用时间数字转换(TDC)检测信号的过零点。另一种方法是将模数转换(ADC)采样到换能器接收的信号做相关运算。
TDC技术判断信号的是否超过阈值,然后计算该信号的过零点,如下图所示。

基于过零的TDC技术
在基于相关性的ADC技术中,会采集并存储上下行两路换能器所接收信号的完整波形。然后对数据进行处理,确定TOF的差值。
基于ADC的方法与TDC方法相比,具有三大优势:
•性能。互相关算法还提供抑制噪声的低通滤波。采用TIMSP430FR6047MCU中的低功耗加速器可高效实现这一运算。互相关算法还可以降低3到4倍的由噪音引起的标准差。相关滤波器还可抑制线路噪声等干扰。
•信号幅值变化的鲁棒性。基于互相关算法的技术对接收信号的幅值、换能器间的差异及温度变化不敏感。在高流速下,会频繁观测到信号幅值的变化。当传感器性能随着时间推移而降低时,鲁棒性将是一项重大优势,因为某些应用流量计的使用寿命会超过10年。
•基于ADC的处理可获取信号包络。获得信号幅值信息,有助于我们调整传感器频率。同时,您可以利用包络在长时间范围内的缓慢变化来检测传感器的老化情况。基于ADC的方法也适用于自动增益控制(AGC)。如果传感器增益随时间呈下降趋势(重申,是因为老化而下降),它能够增强接收到的信号。由于基于相关性的算法可以在维持输出信号电平的情况下使用放大后的接收信号,所以即使传感器老化,系统性能也不会随着时间的推移而降低。

互相关算法计算dTOF框图
绝对TOF测量
测量绝对TOF时不需要使用温度传感器和计算水中的声速。有多种方法可以准确计算绝对TOF。一种方法是计算接收信号的包络然后以该包络变化率的最大值处作为计量点。绝对TOF就是该包络穿越阈值后的时间偏移,如下图所示。

ADC采样用于绝对TOF计算的波形和包络,底部窗格给出了初始波形的放大版本
查看TI用于流量计量的超声传感技术
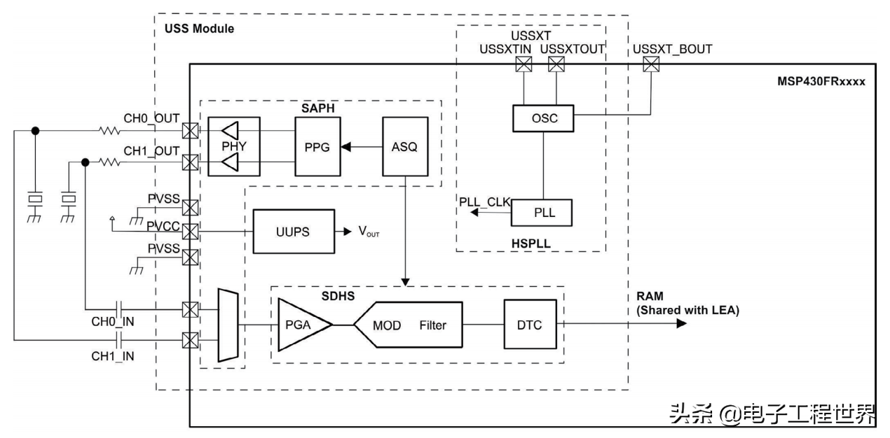
有助于实现高性能的超声波流量计应用功能模块是模拟前端(AFE)的一部分,称为超声波传感解决方案(USS)IP模块,它独立于MSP430™MCU的中央处理单元(CPU)运行。下图显示了原理框图。超声波传感模块包括通用USS电源(UUPS)、电源定序器(PSQ)、可编程脉冲发生器(PPG)、物理驱动器和阻抗匹配网络(PHY)、可编程增益放大器(PGA)、高速锁相环(HSPLL)、sigma-delta高速(SDHS)ADC和采集定序器(ASQ)。
超声波传感模块具有自己的电源轨,可以独立于MSP430FR6047MCU上的其他模块进行上电和断电。您还可以在不影响器件上任何其他模块的条件下对其进行重置。
超声波传感模块中的阻抗匹配,对在随时间和水温变化的deltaTOF测量中获得非常低的漂移具有至关重要的作用。这样也可以检测极低的流速。