一、产品概述
JD745X多功能水泵控制阀具有自动控制、启泵时缓开、停泵是先快闭后缓闭的特点,安装在高层建筑给水系统的水泵出口管道上,防止介质倒流,防止水锤及水击现象的产生。一阀兼具水锤消除器、闸(蝶)阀、止回阀三种功能,可有效的提高供水系统的安全可靠性。
JD745X多功能水泵控制阀由主阀和调节阀及接管系统组成,阀体采用直流式阀体,主阀控制室为膜片式或活塞式的双控制室结构,控制室比一般水力控制阀增加了一个,增加了对主阀的控制功能,实现了对水泵出口的缓慢开启、全开、缓闭、截止等多功能控制,实现了一个阀门、一次调节对水泵出口的多功能控制。JD745X多功能水泵控制阀的接管系统采用调节阀控制,通过设定调节阀的开度,可方便实现需要的各项控制参数,如主阀的开启速度、缓闭速度等等。
二、工作原理:
开泵前,阀门出口端介质有一定压力,通过导管作用在膜片上腔,膜片推动阀杆使缓闭阀芯压紧主阀芯,阀门处于关闭状态。开泵后,阀门进口压力逐渐上升,进口压力沿着导管到达膜片下腔,超过阀后压力时,膜片向上动作,带动阀杆和缓闭阀芯开启,主阀芯在进口介质压力作用下,一起开启。膜片上腔内水沿着导管流到出口。关泵时,进口压力逐渐下降,当零流速时,主阀芯在重力和弹簧作用下快速关闭。主阀芯上开有回流孔,出口端介质通过回流孔流到进口,延长了阀门关闭时间,减小了水锤现象。出口端压力沿着导管到达膜片上腔,带动阀杆和缓闭阀芯慢慢向下动作,关闭主阀芯泄流孔后,阀门关闭。膜片下腔内水沿着导管流到进口。
三、产品特点
1、设定调节阀A、B的开度和开度比可得到合适的阀门启闭速度。防止水锤效果好,将缓开、止回速闭、缓闭等消除水锤的技术一体化,防止开泵不锤和停泵倒流与水锤对供水管路和水泵的损害;
2、操作方便,无需为阀门另配电控系统,阀门随水泵的开启与停止自动并按顺序完成控制功能。通过设定调节阀开度可得到合适的控制参数;
3、阀体采用了全通道、直流式、流线型设计。水力损失小,节能效果好;
4、本阀门安装在水泵出口端,顺序实现缓慢开启、全开、速闭、缓闭等功能。
5、JD745X多功能水泵控制阀用于高层建筑给水系统和其它给水系统的水泵出口管路上,防止和减弱水泵启闭时管线的水锤水击,防止水倒流保护水泵,维护管路安全。
6、通过改变进口导管和出口导管上调节阀开度,来调整阀门缓开和缓闭时间。调节阀开度越小,缓开和缓闭时间越长,开度大则时间变短。在3S-60S内可调。
四、主要技术参数
产品型号
公称压力
适用介质
适用温度℃
调压范围
缓闭时间
最低动作压力
JD745X-10Q
1.0MPa
水
≤80℃
0.09-0.8
3-60S可调
≥0.07
JD745X-16Q
1.6MPa
0.15-1.4
设计标准
CJ/T167-2016
结构长度
GB/T12221
压力温度等级
GB/T12224
试验与检验
GB/T13927
连接法兰
GB/、JB/T79
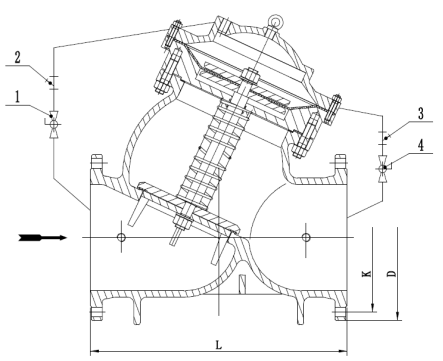
五、外形连接尺寸图

公称通径DN
L
PN16
PN10
D法兰外径
K法兰中心
n-φd
D法兰外径
K法兰中心
n-φd
b法兰厚度
50
235
160
125
4*18
160
125
4*18
13
65
255
180
145
4*18
180
145
4*18
15
80
275
195
160
8*18
195
160
4*18
16
100
275
215
180
8*18
215
180
4*18
18
125
325
245
210
8*18
245
210
8*18
19
150
375
280
240
8*23
280
240
8*23
21
200
430
335
295
12*23
335
295
8*23
20
250
490
405
355
12*25
405
350
12*23
23
300
560
460
410
12*25
460
400
12*23
28
350
655
520
470
16*25
520
460
16*23
28
400
695
580
525
16*30
580
515
16*25
32
450
755
640
585
20*30
615
565
20*25
32
500
810
705
650
20*34
670
620
20*25
34
600
895
840
770
20*37
780
725
20*30
34
700
1150
910
840
24*37
910
840
24*30
34
800
1330
1025
950
24*40
1025
950
24*35
34