由一出力主轴的数滚子垂直啮合一凸轮轴,以及该出力主轴底部可转动地设一主轴承,藉此不仅达成弧形啮合不产生背隙,同时该主轴承易于制造生产有效提升整体生产效率及提高工件的精度。

减速机构主要应用于转速高的一驱动轴90啮合于输出端转速低的一被动元件91传递动力后,以降低该被动元件91的转速来提升输出扭力的目的;

如下所示,减速机构包含有一驱动轴90、一被动元件91、一动力源(图未示)及一交叉轴承93等元件,藉由该动力源输出动力于输出端的该驱动轴90,当该驱动轴90啮合该被动元件91;藉由直径较短该驱动轴90传动直径较大的该被动元件91,达成低转速高扭力的目的;此外该被动元件91环周圆设该交叉轴承93降低转动时的摩擦阻力;然则习用的减速机构,于长时间作业下习用该被动元件91及该驱动轴90啮合处习知使用该交叉轴承93来避免背隙问题,但该交叉轴承93的数滚柱94结构采相互垂直交错排列于加工上较困难及生产效率低等问题,困扰相关人员已久。
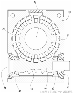
无背隙滚子凸轮精密减速机
包含:一壳体10,该壳体10设一垂直穿孔11,该垂直穿孔11置入一出力主轴20,该出力主轴20底部同心装设一主轴承30;一凸轮轴40,该凸轮轴40垂直啮合该出力主轴20于该壳体10内,:

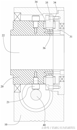
该主轴承30向下依序装设:一主轴承座31,该主轴承座31顶端设一环凹部32;一下保持环33,该下保持环33放射状装设数水平滚针34且同心装设于该主轴承座31的该环凹部32内;一定位垫圈35,该定位垫圈35为环形且直径略大于该下保持环33,并等距穿设数定位孔38,各该定位孔38螺固于该壳体10内,此外该定位垫圈35内周壁环状排列数垂直滚柱36;一上保持环37,该上保持环37放射状亦装设各该水平滚针34且同心装设于该定位垫圈35与该出力主轴20之间;

该出力主轴20靠近底部的外周壁可转动地固设数滚子21的一端,各该滚子21呈环状排列,并于该主轴承座31由下向上固设该出力主轴20;

该凸轮轴40设一凹弧曲面42且该出力主轴20一侧穿设该壳体10,令该凸轮轴40垂直啮合该出力主轴20的各该滚子21后,该凸轮轴40两端分别穿设一偏心调整盖43,各该偏心调整盖43固设于该壳体10内;

藉由该凸轮轴40垂直啮合该出力主轴20,有效增加啮合面积,同时配合该主轴承30的各该水平滚针34及各该垂直滚柱36,不仅弧形啮合不产生背隙,同时该主轴承30易于制造生产有效提升整体效率。

