一、什么是轴承的失效
滚动轴承在使用过程中由于本身质量和外部条件的原因,其承载能力,旋转精度和减磨性能等会发生变化,当轴承的性能指标低于使用要求而不能正常工作时,就称为轴承损坏和失效,
二、失效分析的意义
三、轴承失效的主要形式
1.疲劳损坏(正常损坏)
2.存储、运输损坏
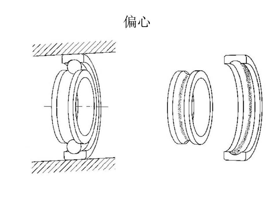
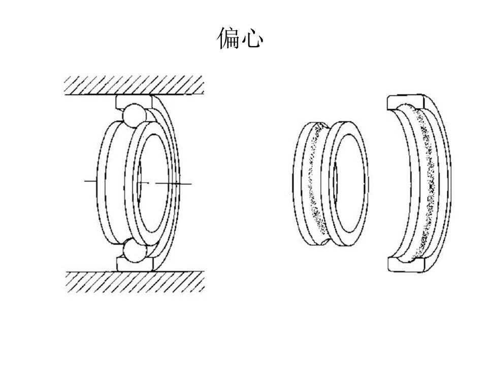
3.安装不当
4.润滑失效
5.杂质、摩擦、腐蚀损坏
轴承一旦发生损坏等意外情况时,将会出现其机器,设备停转,功能受到损伤等各种异常现象。因此需要在短期内查出产生的原因,并采取相应措施。当然,滚动轴承损坏的情况比一般机械零件的损坏要复杂得多。例如:选型不合适、支承设计不合理、安装不当、润滑不良、密封不好等外部因素都是会引起的。




















































